Stellantis trabalha em novo volante com acelerador e freio integrados
O volante em forma de manche pode ser empurrado para acelerar o carro e puxado para frear, além de ser totalmente retrátil
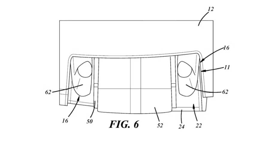
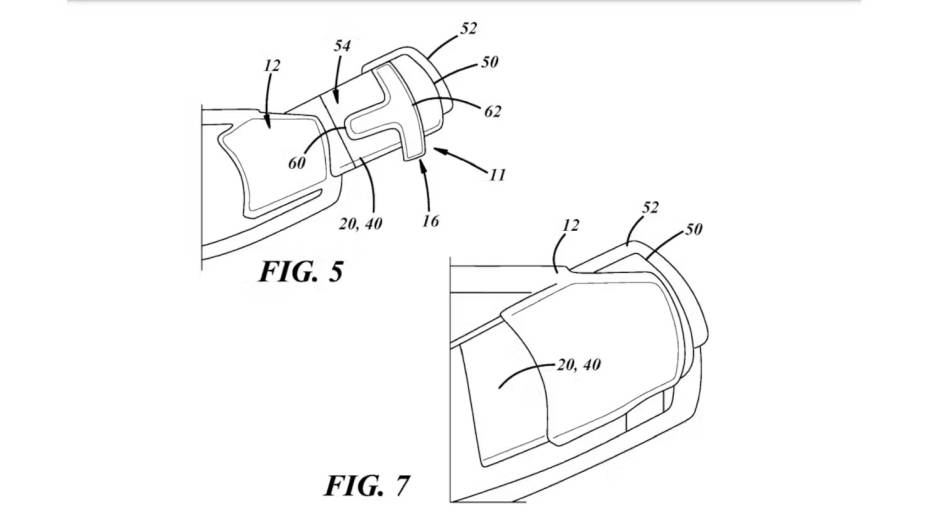
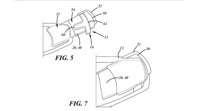
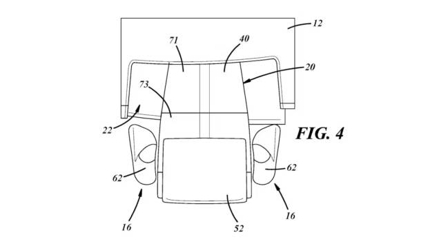
Depois de anunciar que o seu sistema autônomo AutoDrive estreia no ano que vem, a Stellantis está cozinhando mais alguns projetos para o futuro. A descoberta da vez é um novo volante em forma de manche, que também será usado para acelerar e frear o carro.
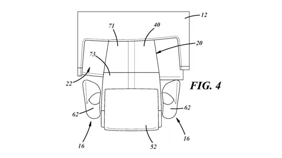
A descoberta foi feita pelo site CarBuzz, que encontrou o projeto registrado no escritório de patentes dos Estados Unidos. Diferente dos volantes de manche tradicionais, o protótipo da Stellantis tem uma função onde o motorista irá empurrá-lo para acelerar o carro e puxá-lo para frear, substituindo os pedais do acelerador e freio.
De acordo com a montadora, o novo volante poderia facilmente ser operado com apenas uma mão. O único problema é que o motorista pode acabar acelerando o carro sem querer durante uma frenagem mais brusca, pelo efeito da inércia. Mas isso poderia ser resolvido apenas invertendo o funcionamento do manche.






Outro detalhe é que para funcionar, a coluna de direção não existirá, sendo substituída pela tecnologia steer-by-wire, que cria uma ligação virtual entre o volante e as rodas, assim como já acontece na Tesla Cybertruck. Essa tecnologia tende a se tornar cada vez mais comum nos carros — mesmo naqueles que ainda têm volantes circulares — devido à sua compatibilidade com os sistemas autônomos.
- É por esse motivo que o protótipo da Stellantis também é totalmente retrátil, já prevendo um futuro onde os carros dirigirão sozinhos. Para isso, não há mistério; quando o motorista ligar o piloto automático, o volante se esconde no painel liberando mais espaço para o condutor.
Embora a ideia seja inovadora, ela não é totalmente nova. A Toyota, no ano passado, mostrou o NEO Steer, um tipo volante — também em forma de manche — voltado para os PCDs que usa alavancas adicionais para controlar os freios e a aceleração. Não há nada descrevendo que esse será o uso do seu projeto, mas com certeza facilitaria a adaptação dos carros para esse público.
Compacto de 65 cv poderá ser um ‘esportivo acessível’ na linha GR, da Toyota
Toyota Yaris fica mais caro em 2025 mesmo fora de linha
Toyota Corolla Cross europeu se inspira no brasileiro, mas tem privilégios
Toyota aposta que o hidrogênio substituirá o diesel no futuro